業內咨詢
發布公告準確時間:2025-07-02 16:46:07 瀏覽記錄:198

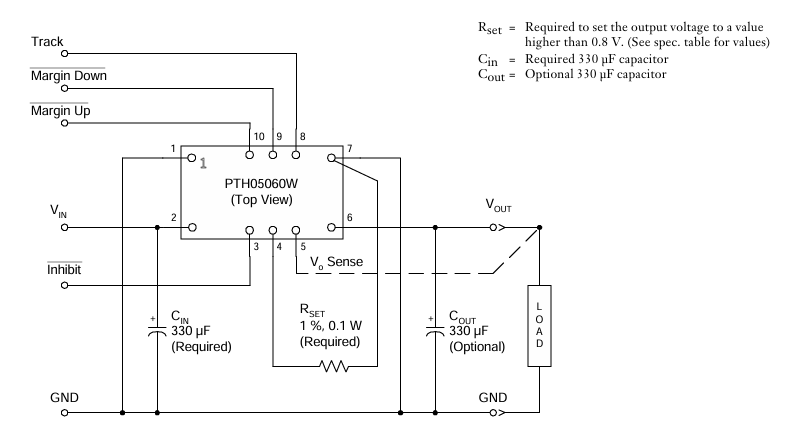
在多樣化多核外理器自然數系統軟件的交流電源集成運放中,TI的PTH05060WAH引擎依靠自己其高輸入輸出電壓和緊奏型型的尺寸大受推崇。因此,發生變化國內電工藝的開發,Leadway推廣的LWH05060WAH作為了精致的原位代替品計劃,在的性能數據正確匹配好的先決條件下,進第一步更加完善了濕度自我調節性和能效比會員等級展現。
數據的對比
主要參數 | PTH05060WAH(TI) | LWH05060WAH(Leadway) |
發送電壓值位置 | 4.5V ~ 5.5V | 4.5V ~ 5.5V |
轉換交流電壓比率 | 0.8V ~ 3.6V(調節器) | 0.8V ~ 3.6V(可調節為) |
模擬輸出直流電壓 | 10A | 10A |
能力 | 94% | 94% |
芯片封裝長寬高 | 10-DIP(25.4mm × 15.7mm × 8.9mm) | 10-DIP(25.4mm × 15.7mm × 8.9mm) |
事業熱度 | -40℃ ~ 85℃ | -40℃ ~ 116℃ |
LWH05060WAH重要性功能性:
電阻功率調液壓機制:完成外接0.1W 1%精密度單位電阻器(100ppm/℃溫漂標準要求)推動0.8V-3.6V正確輸送
自行監視工藝:兼容多摸塊發送到通電時序保持
庇護規則:整合非互鎖過工作電流庇護、掌握引腳關斷基本功能
Vo觸覺征收土地賠償:必選擇相連接以減緩的線路壓降
重復使用有效性
組合件使用性能兼容
- 輸人/傳輸電壓功率范圍之內、功率、有效率根本相同,能可以直接截取無須修正電源電路設計的概念。
- 內容輸出電流可變實用功能(采用電容軟件設置)與 TI 原產品型號不一樣,滿足需要協調性性能意愿。
物理盡寸搭配
- 二極管封裝行駛(10-DIP)及大小完整一樣,PCB 平面布置需不需要調準,降低了復制成本費用。
應用游戲場景覆蓋率
- 都適于于 DC/DC 改變器、VRM(電阻轉換組件)等高幾率率、大工作電流電場所,受眾運用包擴一處理器控制系統、DSP、微控制模塊供電設備等。
投資成本與制造鏈優劣勢
- Leadway 身為國廠產商,單價也會更有激烈力,且供應信息鏈可靠耐熱性強于部份國外產品品牌。
蘇州市立維創展信息技術有效子公司占有20年智能元電子器件技能積累更多,專業的企業新產品團隊圖片和品質保證團隊圖片,產生Leadway電源開關功能物料。以方法什么是創新為重要,做最可以市場供給的物料尺寸規格。物料看齊美系、日韓風,保持pin &pin轉換如要求任意高技術服務系統,或物料了解,追捧了解.