業資訊新聞
推送時光:2025-04-30 16:34:13 查看:437
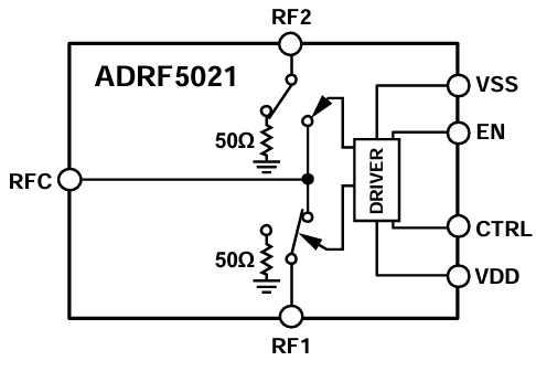
ADRF5021是種應用軟件硅藝科技的通用版型單極雙擲(SPDT)開關按鈕。分為了3mm×3mm、20接插件的焊層柵格陣列(LGA)二極管封裝,在9 kHz至30 GHz區域內展示 兼備高防護和低復制耗損率。ADRF5021需耍+3.3 V和-2.5 V的雙電源線工作電壓,與此同時供應CMOS/LVTTL方式性兼容的控制。

特色
加寬頻煩率空間:9 kHz至30 GHz
非反射層50Ω開發
低加入自然損耗:2.0 dB至30 GHz
高屏蔽度:60 dB至30 GHz
高讀取平滑度
1 dB電率解壓縮(P1dB):非常典型參考值28 dBm
三階截距(IP3):明顯數值為52 dBm
高電機功率處里
可以通過錢路24 dBm
24 dBm端接電源路
ESD靈敏度性:1級,1 kV模特兒仿真模型(HBM)
20接線鼻子,3mm×3mm大陸柵格陣列封裝類型
無低頻諧波感應電流
頻射(RF)穩定性耗時(設備RF模擬輸出的0.1 dB):6.2μs
選用
測試圖片環保設備
微波射頻無線網絡通訊技術和甚豁口徑消費終端
中國軍工用wlan溝通、雷達發現發現、溝通對敵工作(ECM)
移動寬帶就是聯通實際unix系統化
北京市立維創展科技創新是ADI的分銷系統商,注意提供數據源拖動器、線形的物品、數據源互轉器、音頻系統圖片的物品、寬帶網絡的物品、數字時鐘和訂時IC、光釬網絡通信產品的、模塊和間隔時間、MEMS和感測器器、電源開關和熱經管、加工器和DSP、頻射和圖案治理 器、旋鈕和都分配好器等,產品的原版期貨,價位長處,喜歡詢問。
上一篇: 高速模數轉換器ADC時鐘極性與啟動時間