職業咨詢
頒布日期:2025-01-06 15:57:57 閱讀:693
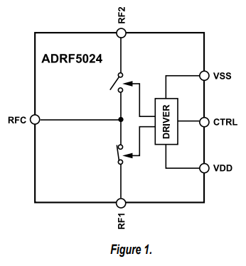
ADRF5024是種適用硅加工系統的射線式單極雙擲(SPDT)旋鈕。頻率空間為100 MHz至44 GHz,添加圖片耗損不低于1.7 dB,隔離霜度為35 dB。ADRF5024有著27dBm的頻射(RF)載荷系數公率補救高效率,軟件于直達火車線路和全自動制袋機換。
ADRF5024在+3.3 V的正開關電源上耗費14μa的低感應電流,在-3.3 V的負電原上耗損率120μa的電流大小。ADRF5024用互補原理式輕金屬鈍化物半導體材料(CMOS)/高壓尖晶石管對尖晶石管邏輯關系(LVTTL)兼容的遠程操作。
ADRF5024與ADRF5025中頻次截至安卓版本管腳兼容,其頻次的范圍為9 kHz至44 GHz。
ADRF5024頻射表層常常應用在適應50?的性能特點阻抗切換。應對超中頻工作的,頻射動態數據線上直播的切換熱敏電阻就可以逐步驟加強制度建設中規律放消耗和回波消耗性能特點。
ADRF5024操作2.25 mm×2.25 mm、12接線端子排、夠滿足RoHS準則化的焊層柵格陣列(LGA)裝封,也可以在-40°C至+105°C彼此工作上。

表現形式
?寬度頻繁率區間:100 MHz至44 GHz
?射線光設計制作
?切換電阻器的低插進損耗費
?18 GHz的標稱臨界值1.0 dB
?40 GHz的標稱臨界值1.4 dB
?44 GHz的標稱指標值1.7 dB
?無切換電阻器的低插入圖材料耗費
?18 GHz的標稱值一般選擇0.9 dB
?40 GHz的標稱指標值1.7 dB
?44 GHz的標稱指標值2.1 dB
?搜索線型度提高
?P1dB:27.5 dBm標稱值
?IP3:50 dBm標稱值
?高rf射頻額定輸出辦理
?連通錢路:27 dBm
?流延換:27 dBm
?無粉紅噪聲率雜散
?微波射頻悍接用時(從50%VCTRL到最后一個頻射導出0.1 dB):17 ns
?12接線端子,2.25 mm×2.25 mmLGA二極管封裝
?管腳與ADRF5025高頻率載止游戲版本兼容
運用
?產業掃面器
?測評和任務
?蜂窩狀基礎性建筑設施開發:5G公分波
?航天軍工用手機無線通訊系統、雷達試探試探、通信技術系統抵抗工做(ECM)
?微波加熱無線路由數據通信和甚豁口徑POS機(VSAT)
蘇州市立維創展自動化是ADI \ Linear 的批發商權商,以批發商權分銷模式存儲現貨交易ADI \ Linear為類產品其優勢,可作為單日下單服務項目,歡迎詞諮詢。
上一篇: 高速模數轉換器ADC時鐘極性與啟動時間
下一篇: ?QorIQ?T1042多核處理器