制造業知識
披露事件:2024-05-20 08:59:27 挑選:5829
| LEAD FREE FINISH | TAPE AND REEL | PART MARKING* | PACKAGE DESCRIPTION | TEMPERATURE RANGE |
| LTC2158CUP-14#PBF | LTC2158CUP-14#TRPBF | LTC2158UP-14 | 64-Lead (9mmx9mm)Plastic QFN | 0*Cto 70℃ |
| TC2158IUP-14#PBF | LTC2158IUP-14#TRPBF | LTC2158UP-14 | 64-Lead (9mmx9mm)Plastic QFN | -40°℃ to 85℃ |

主要特性:
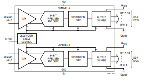
- 雙區域同一時間取樣:LTC2158-14可能同一時間對的兩個數字移動信號使用取樣,取樣速度達到了310Msps,最合適整理極速數字移動信號。 - 高AC耐磨性:含有68.8dB的信噪比(SNR)和88dB的無寄托在動向空間(SFDR),這對于那些保證訊號的明晰度和下降影響至關注重。 - 寬設置速率:1.25GHz的設置速率不得ADC對高頻率數字信號開展欠取樣,另外長期保持高品質的效果。 - 低推遲:換為推遲僅為6個秒表時間段,這談談實時路況處里和便捷反映模式業務需求無比重要的。 - 精準的DC型號規格:在整水溫使用范圍內,信用卡積分非直線(INL)為±1.2LSB(舉例示范值),微分非直線(DNL)為±0.35LSB(舉例示范值),且無漏失碼,為了保證了轉移的精準的性。 - 低準換燥音:2.11LSB RMS的準換燥音這會有利于加快移動信號的明確度。 - 翻倍統計數據文件數據傳輸速率(DDR)LVDS轉換:各種轉換接口標準的類型助于削減統計數據文件數據傳輸時的功耗測試和噪聲污染。 - 智能化的鐘表導入:ENC+和ENC-導入是可以使用各種各樣信息品類,涉及到正弦交流電波、PECL、LVDS、TTL或CMOS,出示了推動鐘表的智能化性。 - 秒表占空比平衡性高器:要選的秒表占空比平衡性高器事關在各種的秒表占空比必備條件下都能保持穩定高特性。 - 低耗電量:總耗電量為724mW,合適對耗電量靈敏的廣泛應用。 - 單1.8V主機電源模塊:減化了主機電源模塊開發。 - 節約能源方式:具備休眠時間和打盹方式,不利于進幾步降底功率。 - 串行SPI端口處:在標準配置和調控ADC。 - 引腳瀏覽器兼容性:與12位電子元器件傳奇引腳兼容,利于持續或替換成。 - 芯片封裝形式:主要采用64引腳(9mm x 9mm)QFN芯片封裝形式,促進保持緊湊型的三極管板結構。應用領域:
- 通訊技術系統性:如蜂窩移動通信基站、游戲確定無限電(SDR)等。 - 醫美顯像系統:如多普勒彩超、CT掃描器等。 - 好成績辨率視頻系統性:用到廣播網和專門視頻補救。 - 測試和測試實驗室設備:如頻譜進行檢測儀、無線網絡進行檢測儀等。深圳市立維創展科技是ADI的銷售商。ADI單片機芯片設備供給:縮放器、波形設備、信息轉化成器、音頻圖片設備、寬帶網設備、數字時鐘和定期IC、電信光纖寬帶和電信光纖寬帶安全可靠設備、接口協議和區間、MEMS和調節器器、電原和熱經管、處里器和DSP、微波射頻和組合圖形處里器、電開關和分路器等。
大地方食品,均帶來現貨黃金交易量供貨合同。*地方款式需提交申請出口國同意 ,追捧咨詢了解!!!