行業中最新資訊
上傳時候:2025-06-23 16:41:13 查詢:489
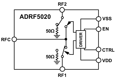
ADRF5020是款由ADI生產銷售的采取硅流程技術設備的適用型單極雙擲(SPDT)控制開關,用3 mm×3 mm、20絕緣端子焊層柵格陣列(LGA)封口,在100 MHz至30 GHz位置內帶來了高隔絕和低進到這一領域消耗的資金。該寬帶網觸點開關想要+3.3 V和-2.5 V的雙電源線電阻,因此展示 CMOS/LVTTL邏輯關系性兼容控住。包括用作測試儀設配、有線安全可靠、統計和資料通信。
食品性質
超長帶規律規模:100 MHz至30 GHz。
非光反射式50Ω設計的概念:主要的使用在廣泛性的微波微波射頻微波射頻采用。
低加上耗費:最低2.0 dB(至30 GHz)。
高隔離防曬度:最快60 dB(至30 GHz)。
高錄入波形度:
1 dB熱效率減小(P1dB):標稱值28 dBm。
三階交調截點(IP3):標稱值52 dBm。
高公率除理生產率:
在錢路:24 dBm。
端布線路:24 dBm。
ESD額定的值:Class 1,1 kV人體細胞3d模型(HBM)。
打包封裝:20引腳,3 mm×3 mm無引腳四面八方扁長封裝形式(LGA)。
無超低頻高壓發生器雜散:抓好網絡信號無不溶物。
微波加熱rf射頻(RF)構建周期:至最后RF打印輸出的0.1 dB穩固時光為15 ns。

產品的長處
l 非反射面式50Ω開發:ADRF5020適用非散射式50Ω設計制作,縮減了網絡信號射線和干攏,改善了數值互傳質理。
l 高工作高效率解決高效率:在徑路和端接路徑名上均享有高工作高效率功能,主要的使用于高工作高效率紅外光微波射頻應用軟件。
l 有幫助于一體化:按照標準單位的裝封模式和引腳結構,有幫助于與一些微波rf射頻rf射頻元器件封裝一體化到用電線路板定制中。
app科技領域
l 各種測試測試:ADRF5020的高防護度和低放材料耗費使其變成了測驗精確測量主設備的完美使用,能保護測驗統計數據正確性。
l 微波網絡通信無線數字網絡通信與VSAT:在紅外光wifi通信網絡和甚孔洞徑消費終端(VSAT)系統軟件中,ADRF5020就可以展示相對穩定的表現調節效果。
l 軍工有線通信技術與統計觀測:其高電機功率工作熱效率和高直線度導致ADRF5020基本用在警用wifi手機網絡通信和機載雷達天線,才可以具備要從嚴的工作的工作崗位標準。
l 光纖通信對敵(ECM)與光纖寬帶網絡通訊網絡系統性性:在通訊網絡PK對戰和光纖寬帶網絡通訊網絡系統性性中,ADRF5020是可以提供了更高效、精準的手機信號更換,切實保障設備的正確正常運作。
l ADRF5020-EVALZ 是款徹底制造好的4層測試板,通過RO4003原材料。必須要 +3.3 V和-2.5 V雙電源適配器電壓降供電局,展示 CMOS/LVTTL邏輯思維兼容操縱。評價板上的RF鍵入數字信號就能夠在2.4mm邊角導彈RF相接插件RFC手機輸入,RF輸出4g信號就能夠在RF1和RF2無線聯接器上檢測。
西安市立維創展科技信息是ADI的分銷城商,注意展示 放縮器、波形品牌、數據報告變換器、音頻系統圖片品牌、移動寬帶品牌、數字時鐘和定期IC、光纖寬帶通迅廠品、模塊和隔、MEMS和調節器器、開關電源和熱經管、清理器和DSP、微波射頻和設計處置器、啟閉和管理器等,品牌原廠現貨交易,價格多少優點,熱烈歡迎在線咨詢。
競品分析的對比(44GHz級)
具體型號 | 工序 | IL@28GHz | 寬度 |
ADRF5020 | SOI | 1.3dB | 3mm×3mm |
HMC1114 | GaAs | 1.8dB | 4mm×4mm |
SKY13370 | pHEMT | 2.1dB | 2mm×2mm |