制造業訊息
推出時間段:2024-11-27 17:02:53 預覽:653
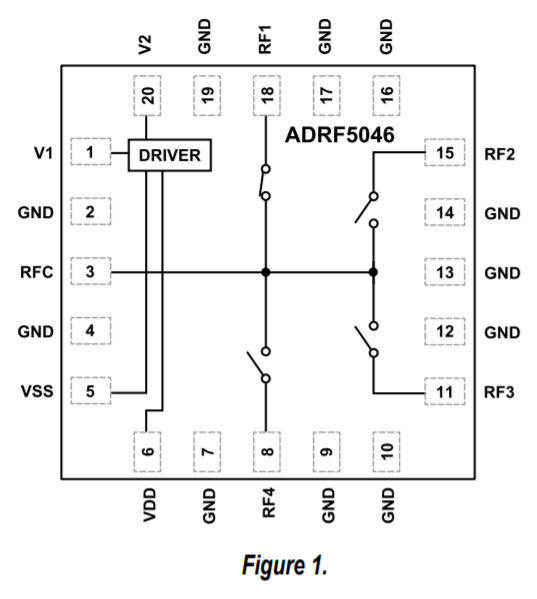
ADRF5046是種適用硅拍攝工藝拍攝的全反射式單極四擲(SP4T)打開。速度范圍之內為100 MHz至44 GHz,插入圖耗損率不低于3.0 dB,消毒度就越高于31 dB。ADRF5046符合27dBm的頻射(RF)輸進輸出數據信息處置水平,關鍵主要用于RFC管腳的快接渠道和殷切換。
ADRF5046在+3.3 V的正24v電源上所耗3μa的低直流電,在-3.3 V的負電源適配器上所耗-110μa的電壓電流。ADRF5046具備絕對優勢性彩石鈍化物半導體行業(CMOS)/高壓低壓多晶體管方法(LVTTL)兼容的設定。
ADRF5046所用20接線兩端絕緣端子、3 mm×3 mm、足夠RoHS基準的焊層柵格陣列(LGA)打包封裝,就能在-40°C至+105°C的環境溫度的范圍內工作任務。

癥狀
?過寬視品率時間范圍:100 MHz至44 GHz
?散射光裝修設計
?復制損耗率低
?1.5 dB至18 GHz
?2.5 dB至40 GHz
?3.0 dB至44 GHz
?高底部隔離
?46 dB至18 GHz
?33 dB至40 GHz
?31 dB至44 GHz
?輸人平滑性好
?P0.1dB:27.5 dBm類型值
?IP3:50 dBm具代表性值
?高頻射設置最大功率正確處理
?直通式電纜線:27 dBm
?殷切換(RFC):27 dBm
?無低頻雜散
?0.1 dBrf射頻不銹鋼焊接時光:50 ns
?20接電源接插件,3mm×3mm,能夠滿足RoHS原則,LGA芯片封裝
廣泛應用
?制造業掃描儀器
?測試方法機械
?蜂窩狀基本知識公用設施毫米左右波5G
?航天軍工用手機無線微波數據通信、雷達探測和微波數據通信應對措施(ECM)
?微波通信網無線wifi通信網和甚小洞徑消費終端(VSAT)
成都市立維創展高新科技是ADI的渠道代銷商,主耍產生圖像電壓放大器、平滑商品、數據顯示改變器、音頻圖片商品、寬帶網商品、秒表和自動IC、網絡光纖網絡通信物品、音頻接口和間格、MEMS和感知器、電源線和熱經管、外理器和DSP、rf射頻和空間圖形操作器、旋轉開關和左右器等。大方面商品,均展示現貨平臺存量訂貨。