餐飲行業新聞資訊
公布期限:2019-02-13 15:24:10 閱覽:2125
要是您要求購ADUC7023BCPZ62I,請單擊右邊客戶服務熱線電話聯系你們!!!
品牌
型號
貨期
庫存
ADI
ADUC7023BCPZ62I
1周
30
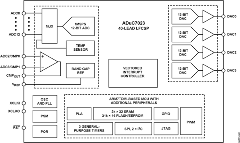
ADUC7023BCPZ62I不是款非常模塊化的1 MSPS,12四位數據收采系統的,在單文件存儲芯片上模塊化了性能卓越的參數多入口ADC,16位/ 32位MCU和Flash / EE文件存儲器。
ADC由多13個單端發送組合而成。此外有十二個輸入能作,但與十二個DAC輸入引腳復用技術。ADC應該在單端或差分輸入狀態下運行。ADC顯示端電壓為0 V至V REF。低漂移帶隙基準值,攝氏度感測器器和電流對比器建立完善ADC外設集。
DAC的輸出使用范圍圖可語言編程為3個工作電壓使用范圍圖中之一。DAC所在的包括資料基本功能,可以在看門狗或軟文回位編碼序列期間堅持其所在的直流電壓。
一些元器件主要采用片內震蕩器和PLL本職工作,產生了41.78 MHz的的內部低頻秒表。該秒表能夠 可程序語言秒表分頻器實施路由,爭先恐后生產MCU內核秒表運作幾率。微保持器中心一個ARM7TDMI ®,16位/ 32位RISC機氣,打造超過41的MIPS峰峰值效能。IC芯片上作為8每每千字節的SRAM和62每每千字節的非易失性Flash / EE數據庫器。ARM7TDMI內核將整個存儲空間和寄存器即為獨立非線性陣列。
ADuC7023涉及到一位層級超時掌握器。向量終止抑制器(VIC)同意為不同終止確定重要級。它還認可嵌套暫停,每次IRQ和FIQ的明顯檔次為8。當整合IRQ和FIQ終止源時,共計支撐16個嵌套終止等級。
片上工業區固件幫助采用I 2 C串行接頭網絡端口采取在線視頻安裝,并順利通過JTAG模塊能夠非浸入式仿真模型。以上效果都整合在同一個低制造費QuickStart?開發管理系統幫助此微轉型®家用。該集成電路芯片涉及一兩個配有四個傳輸訊號的16位PWM。
出至溝通目的意義,該電子器件構成2×I 2 C的通道,可專門處理手機配置主導或從玩法。還帶來了大力支持主的模式,和從的模式,的SPI音頻接口。
這種元器件封裝的事業的電壓面積為2.7 V至3.6 V,電機額定功率溫面積為-40°C至+ 125°C化工溫面積。ADuC7023所采用32引腳或40引腳LFCSP封裝。還帶來了36球晶圓級CSP打包封裝(WLCSP)。
優勢和特點
微管理器
最好11個ADC短信通道
0 V至V REF虛擬輸入標準
最小可打造4個DAC傷害
鬧鐘按鈕
片外附進
62 kB Flash / EE保存器,8 kB SRAM
迅雷在線在線下載,來源于JTAG的測試運行
軟件下載釋放的在線視頻可重編程序業務能力
五種出現異常性質的先級
終斷邊沿或電平其他引腳鍵盤輸入
復制粘貼和傳輸級采用了4字節FIFO
所有的GPIO均可容忍5 V直流電壓
看門狗要定期器(WDT)
16 PLA構件
結構圖

深圳市立維創展科技代理銷售ADI現貨產品,致力于為廣大客戶提供低價格、高質量、有保障的產品,提供優質的售前與售后服務技術。如您有任何產品需求以及服務請聯系我們客服人員,我們會再第一時間內為您解決問題。